Питатель густой смазки 2-1000-1К Елгава
✓ Сертифицированное оборудование
✓ Гарантия надежной эксплуатации
✓ Контроль качества на каждом этапе
✓ Современное оборудование
✓ Быстрая отгрузка
Технические характеристики:
Номинальная подача , см2/ход : 10
Число отводов , n: 1
Масса, кг.: 3,2
Габариты, мм: 92x72x46


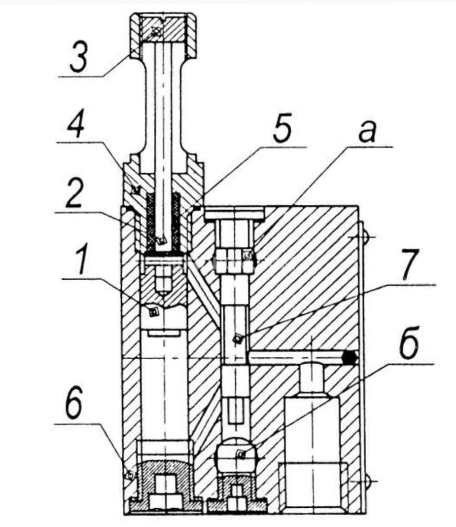
Питатели модели двухлинейной конструкции 2-0200, 2-0500, 2-1000, 2-2500 применяются в централизованных двухлинейных автоматических и ручных системах смазки для периодической (импульсной) подачи смазочного материала к трущимся деталям механизмов и узлов при давлении в магистралях до 20 МПа. Производитель поставляет питатели с боковыми отводами, которые подают смазку при прямом и обратном ходе поршня в один и тот же отвод. В зависимости от объема порции смазки, подаваемой к точке смазки, выпускаются четыре типа в двух вариантах: регулируемые и нерегулируемые.
Ключевые параметры и габариты питателей указаны на чертежах и в таблицах ниже. Питатели серии 2-02XX с метрической резьбой рассчитаны на безрезьбовое соединение маслопроводами через зажимную втулку и уплотнитель из мягкого металла, которые идут в комплекте вместе с питателем; уплотнительные кольца поставляются двумя наборами. Для присоединения питателей серии К к магистралям применяется резьба трубная К 3/8", а к линиям, ведущим к точкам смазки, трубная резьба К 1/4". Оба вида резьбовых отверстий соответствуют ГОСТ 6211—52. При стыковом соединении в корпусе питателей серии М предусмотрены метрические резьбы: М16×1,5 и М12×1,25.
Под названием производительности понимают объем смазки, который подается в каждую точку смазки за один ход поршня, то есть за один цикл работы смазочной установки. Объем подачи поршнем можно регулировать с помощью регулировочных винтов. Окна в корпусах ограничителей по желанию можно закрывать прозрачной ударопрочной пластмассой.
2-1000-1K представляет собой двухлинейный одноотводный питатель с присоединительной конической резьбой K 3/8" и номинальной подачей смазки на отвод 10 см³. Эти двухлинейные питатели применяются в металлургической и металлопрокатной промышленности в системах централизованной смазки станков и автоматов.