Насос аксиально-поршневой нерегулируемый 2Г15-14
✓ Сертифицированное оборудование
✓ Гарантия надежной эксплуатации
✓ Контроль качества на каждом этапе
✓ Современное оборудование
✓ Быстрая отгрузка
Технические характеристики:
Номинальная подача, л/мин: 100
Номинальное давление на выходе, МПа: 6,3
Частота вращения, об./мин.: 1450
Масса, кг: 132

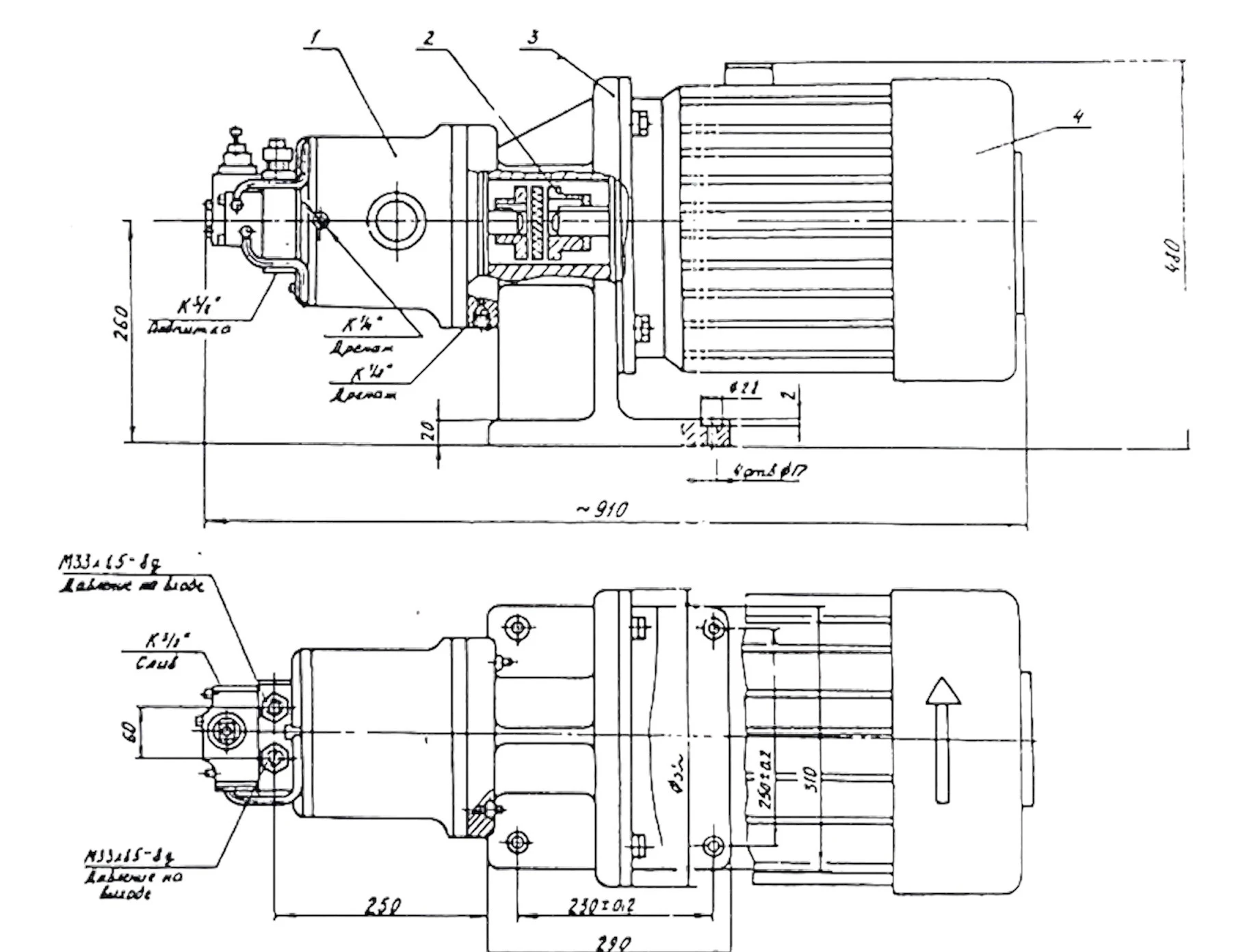
Насос с гидравлическим управлением типа 2Г15-14 изготавливается в комплекте с электродвигателем. Класс климатического исполнения гидронасосов по ГОСТ 15150-69: УХЛ4 предназначен для регионов с умеренным и холодным климатом, в то время как 04 — для тропических условий. Насосы с гидравлическим управлением типа 2Г15-14 используются для питания гидросистем станков с цифровым регулированием скорости, где необходимо поддержание постоянного давления в напорной гидролинии в процессе регулировки. Гидронасосы функционируют на минеральных маслах при температуре от +10 до +60°С, а окружающая среда должна находиться в диапазоне от +10 до +40°С. Масло должно быть очищено не ниже II класса чистоты по ГОСТ 17216-71, что достигается использованием фильтров с номинальной тонкостью фильтрации не более 16 мкм. Рекомендуемые масла: ВНИи НП-403 по ГОСТ 16728-78, ИП-18, ИШП-30 ТУ 38-101-413-78.
Основные технические параметры гидронасосов при работе на чистом минеральном масле с кинематической вязкостью 30-35 N/C. В конструкции насоса на осях установлена наклонная шайба, в расточке которой находится радиально-упорный шарикоподшипник. При вращении вала шайба выполняет возвратно-поступательное движение. Давление во всасывающей гидролинии обеспечивается поршнями вместе с наклонной шайбой на участке всасывания. Ход поршней и, соответственно, подача насоса зависят от угла наклона шайбы. Мощные пружины через подпятники стремятся развернуть шайбу на максимальный угол наклона. Торцовая полость под одной из поршней соединена с напорной гидролинией насоса. С противоположной стороны воздействует гидроцилиндр управления. В полость гидроцилиндра подводится масло от золотника. При распаковке насоса с электродвигателем необходимо удалить верхнюю часть упаковочного ящика. Перед установкой гидронасоса требуется провести расконсервацию в соответствии с требованиями ГОСТ 9.014-78 и извлечь заглушки из резьбовых отверстий. При транспортировке и перед установкой насос с электродвигателем не следует подвергать сильным ударным нагрузкам. При подъеме необходимо использовать два ремня одновременно.