Гидрораспределитель Г71-31 (20МПа)
✓ Сертифицированное оборудование
✓ Гарантия надежной эксплуатации
✓ Контроль качества на каждом этапе
✓ Современное оборудование
✓ Быстрая отгрузка
Основные технические данные
Условный проход : 8мм
Рабочее давление: 20МПа
Пропускная способность: 12,5 л.
Напряжение: 24в., 110в., 220в.
Тип монтажа: модульный (стыковой, плиточный)
Масса : не более 3,6 кг
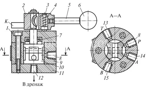
Схема распределения потока рабочей жидкости:



Гидрораспределитель Г71-21 представляет собой одно из самых простых устройств управления кранами, где под термином «крановый тип» подразумевается не столько область применения, сколько специфический способ управления. Тем не менее, его использование в грузоподъемной технике довольно распространено.
Этот распределитель предназначен для установки в механизмы с гидравлическим приводом и служит для регулирования пропуска рабочей жидкости к исполнительным механизмам различных агрегатов. Можно представить его работу как функцию обычного запорного крана.
Принцип функционирования гидрораспределителя Г71-21 вполне прозрачен. В прочном литом корпусе находятся каналы для подачи и отвода рабочей жидкости (минерального масла). Жидкость направляется к рабочим механизмам, работающим в самых разных областях, от легкого строительства до тяжелых горнодобывающих машин. Поворачивая специальную рукоять, оператор может управлять потоком жидкости, направляя его в нужное направление или полностью перекрывая.
Этот тип регулирования отличается высокой надежностью, так как в данном механизме практически нет элементов, подверженных отказам.
Что касается монтажа, то Г71-21 относится к моделям с внутренним установочным фланцем. Он предназначен для реверсивного управления рабочими органами станков и других машин, а также для остановки этих рабочих механизмов (трехпозиционные распределители) и выполнения других операций согласно назначению распределителя.
Гидрораспределители работают с минеральными маслами вязкостью от 10 до 200 сСт в диапазоне температур от +10 до +70°C. Для управления распределителем требуется усилие не более 30 Н.
В подобных кранах изменение направления потока жидкости достигается поворотом пробки, имеющей разные формы, такие как плоская, сферическая, коническая или цилиндрическая. Пробка снабжена двумя перпендикулярными, но не пересекающимися отверстиями, и может находиться в нескольких угловых позициях. Эти краны могут использоваться не только как отдельные распределители, но и в качестве пилотных устройств.
Чтобы снизить усилие при переключении распределителя, вызванное трением пробки о гильзу, пробку уравновешивают действием давления рабочей жидкости, что позволяет избежать ее прижатия к одной стороне. Эта балансировка достигается с помощью двух сквозных радиальных отверстий в пробке, которые обеспечивают противоположное давление жидкости. Кроме того, для уменьшения трения в поворотных кранах часто применяются подшипники качения для центрирования.
Герметичность крановых гидрораспределителей достигается благодаря плотному прилеганию пробки к корпусу крана. С течением времени, в результате износа, зазор между пробкой и корпусом может увеличиваться, что приводит к утечкам рабочей жидкости, что является недостатком в такой конструкции распределителя.
Однако этот недостаток устраняется в крановых гидрораспределителях, использующих пружинные конические пробки.
Крановые гидрораспределители Г71-31 могут иметь резьбовое или стыковое соединение, а также могут быть двух- или трехпозиционными, с соединением линий А и В в средней позиции с линией Р или Т. Распределители с резьбовым соединением имеют фланец для внутренней или наружной установки, причем возможна и установка на кронштейне.
Главные элементы распределителя включают корпус, кран, крышки, манжеты, рукоятку, фиксатор, пружину, ступицу, шарик и крепежные детали. Отверстия соединяются с различными линиями, такими как P, T, A и B. Для разгрузки поворотного элемента от рабочих давлений жидкости предусмотрена камера, соединенная с полостью рабочего давления, что позволяет противодействовать давлению на поворотный элемент. Дополнительно могут использоваться краны с цилиндрическими втулками, работающими по тому же принципу, что и плоские золотники.
Герметичность снова обеспечивается за счет уплотнительных втулок, притягиваемых пружинами и давлением рабочей жидкости в каналах, соединенных с гидродвигателем и плоской поверхностью поворотного золотника.
В гидроприводах следящего типа используются высокоточные золотники с поворотным плоским элементом и нулевым перекрытием. Жидкость подается из нагнетательной магистрали к определенным отверстиям корпуса, и в нейтральном положении поворотного элемента осуществляется управление подачей жидкости.