Гидрораспределитель 64ПГ73-24 (аналог РПГС 20/3 СЕ64)
✓ Сертифицированное оборудование
✓ Гарантия надежной эксплуатации
✓ Контроль качества на каждом этапе
✓ Современное оборудование
✓ Быстрая отгрузка
Основные технические данные
Условный проход : 16мм
Рабочее давление: 20МПа
Пропускная способность: 80-100 л.
Напряжение: 36в., 110в., 220в,380в.
Тип монтажа: модульный (стыковой, плиточный)
Масса : не более 16,5 кг
Схема распределения потока рабочей жидкости:


Гидрораспределитель ПГ73-24 относится к серии составных гидравлических устройств, обладающих широким спектром применения. Основная функция моделей этой серии заключается в переключении потоков рабочей жидкости в гидравлических системах мобильных машин различного назначения. Это касается как станочных агрегатов в области металлообработки, прессовки и общего машиностроения, так и мобильной техники, используемой в строительстве и дорожном строительстве, а также в других сферах.
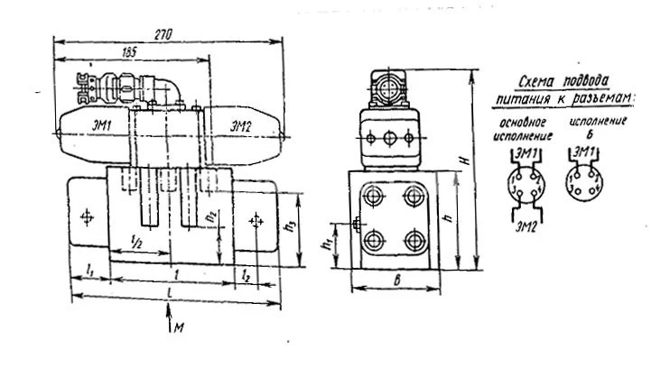
К уникальным характеристикам модели ПГ73-24 можно отнести наличие двух золотниковых распределителей. Первый из них — основной, выполняющий гидравлические функции. Он отвечает за управление направлением потоков рабочей жидкости, подаваемой под высоким давлением к рабочим органам оборудования.
Основной распределитель управляется потоками рабочей жидкости низкого давления, которые поступают от вторичного электромагнитного гидрораспределителя. Данная конструкция позволяет обеспечивать на выходе основного распределителя потоки с характеристиками, недоступными для обычных электромагнитных гидрораспределителей. К полости золотника подводятся подающие, нагнетающие и отводные каналы. При перемещении золотника в нужную сторону, отверстия каналов открываются и закрываются цилиндрами самого золотника.
В конструкции модели ПГ73-24 предусмотрено гидравлическое управление золотником: его сдвиг в произвольную сторону осуществляется за счет подачи рабочей жидкости низкого давления, а возвращение в нейтральное положение производится с помощью гидравлического плунжера.
Гидравлическую схему конкретного гидрораспределителя, включая количество, назначение и последовательность открытия и закрытия каналов, можно определить, изучив первые две цифры артикульного номера модели в прилагаемой таблице. Этот модельный ряд представлен с соединением типа "стык". Гидрораспределители, произведенные в Болгарии, считаются одними из самых надежных и качественных компонентов гидравлических систем на рынке. Они сочетают в себе высокое качество и надежность при доступной стоимости. Эти распределители доступны в различных конфигурациях и вариантах исполнения, что позволяет выбрать наиболее подходящий вариант для конкретной гидравлической системы.
Модель гидрораспределителя ПГ 73-24 обеспечивает высокую точность регулировки и дает возможность установить оптимальную скорость потока рабочей жидкости. Производительность этой модели составляет 80/160 л/мин, что обеспечивает точный контроль за передачей энергии и равномерное распределение потока в системе.
Гидрораспределители болгарского производства характеризуются компактным и легким дизайном, что упрощает их монтаж и эксплуатацию; в частности, вес данной модели составляет 20 кг. Также стоит отметить, что гидрораспределитель способен работать при давлении до 20 МПа, что гарантирует безопасную и эффективную работу всей гидравлической системы.
В целом, гидрораспределители производства Болгария являются надежными и эффективными компонентами гидравлических систем. Они отвечают самым высоким стандартам качества и широко применяются в различных отраслях промышленности, таких как строительство, сельское хозяйство, машиностроение и другие, где требуется надежное и эффективное регулирование потока рабочей жидкости.
Принцип работы гидрораспределителя ПГ73-24 заключается в том, что управление золотником осуществляется с помощью двух электромагнитов и пружин. Эти пружины обеспечивают центрирование золотника при отключении питания. В гидроприводах, используемых в станках, применяются электромагниты на напряжение 220В или 110В переменного тока. В то время как в мобильной технике в большей степени востребованы электромагниты на 12В или 24В постоянного тока.