Гидроклапан редукционный М-ПКР 20-32-2
✓ Сертифицированное оборудование
✓ Гарантия надежной эксплуатации
✓ Контроль качества на каждом этапе
✓ Современное оборудование
✓ Быстрая отгрузка
Основные параметры клапана:
Диаметр условного прохода - 20 мм
Давление нагнетания ном. - 32 МПа
Давление редуцированное, настраивается в диапазоне от 1,5 до 40 МПа
Расход рабочей жидкости ном. - 250 л
Тип монтажа : стыковой





Назначение и область применения







Гидроклапаны предохранительного типа непрямого действия (с вспомогательным клапаном) при давлениях до 32 мЛа (320 кгс/см) предназначены для поддержания заданного давления, защиты от его превышения и сброса давления в гидросистемах станков и других стационарных машин. Клапаны разработаны для работы с минеральными маслами с кинематической вязкостью от 17 до 213 мм/с (сСт) и температурой от 10 до 50 °C при окружающей температуре от 0 до 50 °C. Рекомендуемые масла: ВНИИ НП-403 по ГОСТ 16728-28, ИГП-30 и ИГП-49 по ТУ 38.101413-78. Рабочая жидкость должна быть очищена не менее 13-го класса чистоты по ГОСТ 17216-71. Для обеспечения данного класса чистоты целесообразно использовать фильтры с номинальной тонкостью фильтрации до 25 мкм.
Описание конструкции и работы клапана.
Масло от насоса поступает в полость Д и выводится через сливное отверстие Б. Полость Д соединяется с полостью А через каналы Г и через дроссельное отверстие 1 в золотнике 3 — с полостью И. Если давление в гидросистеме не превышает заданное значение, запорный элемент 13 удерживается пружиной 18 у седла 15, и поток жидкости через отверстие Ж отсутствует. В этом случае давление в полостях Д, И и А равно, а золотник 3 под действием пружины 5 плотно прижат к седлу 4, что разъединяет напорную и сливную магистрали гидросистемы.
Когда давление в системе превышает заданное значение, запорный элемент 17, преодолевая усилие пружины 18, отходит от седла 15, и небольшое количество жидкости из полости Д начинает поступать к сливу через каналы Ж, И, К, Л, П и Р. Это приводит к снижению давления в полости И, и золотник 3 перемещается, сжимая пружину 5 и соединяя напорную магистраль со сливом. Перемещение золотника продолжается до тех пор, пока силы давления в полостях Д и А не уравновесят давление в полости И и силу пружины 5, в результате чего давление в полости автоматически стабилизируется.
Если давление в полости Д снизится до установленного уровня и ниже, запорный элемент 17, действуя под давлением пружины 18, снова прижимается к седлу 15, и поток жидкости из полости И на слив прекращается, давление в полостях Д, А и И уравновешивается, а пружина 5 прижимает золотник 3 к седлу 4, вновь разъединяя полость Д со сливным отверстием Б.
Давление в гидросистеме регулируется вращением маховичка 10. Разные исполнения клапанов по давлению отличаются только характеристиками пружины 18. Клапан может также быть использован для сброса давления в системе, если соединить отверстие Е через кран или управляемый клапан со сливной линией. При этом давление в полости снизится, и золотник 3 переместится, соединяя напорную магистраль со сливом. Тогда вся жидкость, поступающая от насоса, будет свободно сливаться в бак, причем потери давления в клапане будут зависеть лишь от усилия пружины 5. Если кран закрыт, клапан работает в обычном режиме, как описано ранее.
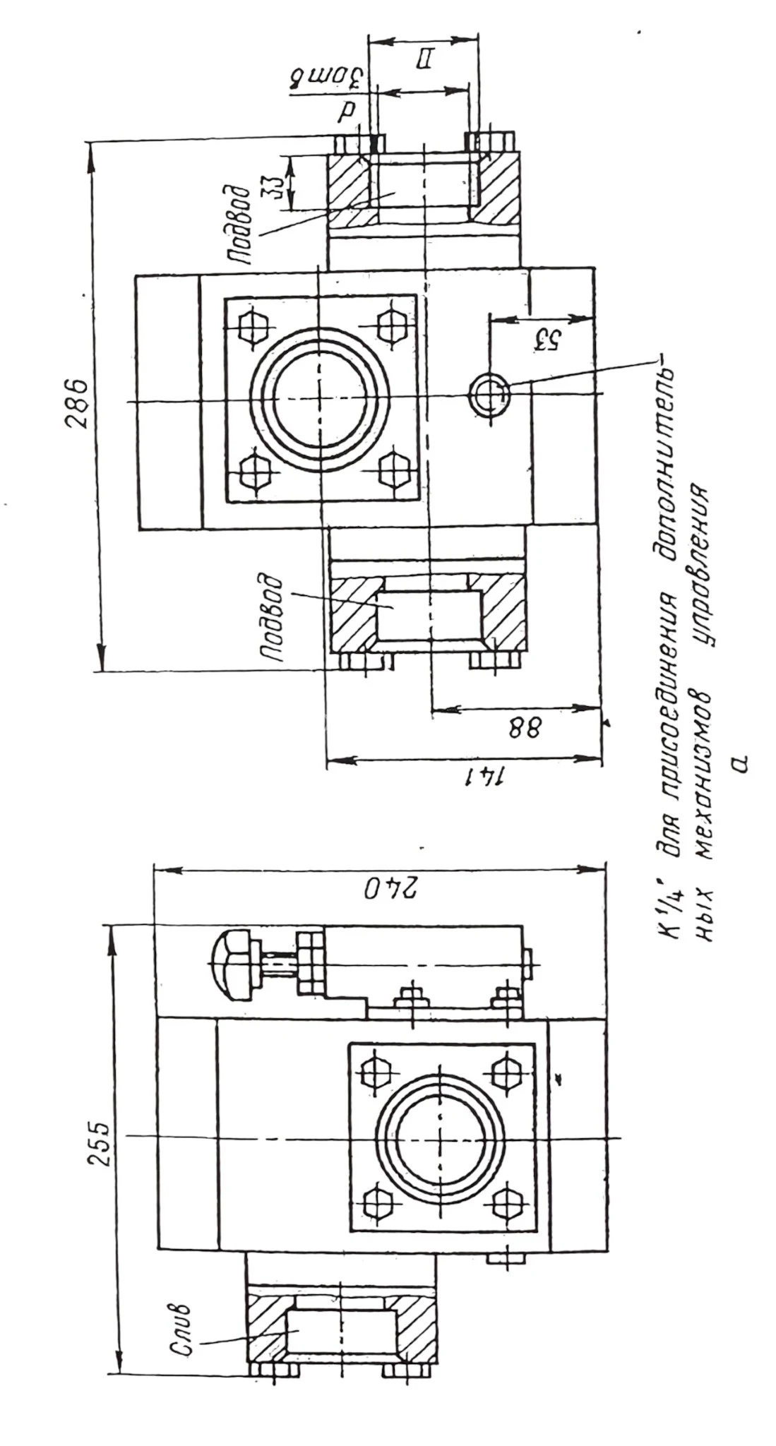
Клапаны, выполненные в резьбовом и фланцевом исполнениях, отличаются от показанного на рисунке 2 стыкового исполнения только конструкцией корпуса. Для дистанционного сброса давления в гидросистеме применяются предохранительные клапаны с электромагнитным управлением разгрузкой (на рисунке 2 изображена именно такая конструкция). Этот аппарат представляет собой комбинацию предохранительного клапана и распределителя (пилота управления).
Клапаны с электромагнитным управлением отличаются от обычных предохранительных клапанов только конструкцией корпуса вспомогательного клапана и наличием распределителя. На верхней плоскости корпуса вспомогательного клапана предусмотрена площадка для установки распределителя, который крепится четырьмя винтами М5x50. Золотник 13 распределителя, при выключенном электромагните, соединяет полость И с сливом через каналы К, Л, М, Н, П и Р, разгружая систему от давления. При включенном электромагните канал полностью перекрывается, и клапан функционирует как предохранительный без электромагнитного управления.