Гидроклапан редукционный М-КР 32-10-1
✓ Сертифицированное оборудование
✓ Гарантия надежной эксплуатации
✓ Контроль качества на каждом этапе
✓ Современное оборудование
✓ Быстрая отгрузка
Основные параметры клапана:
Диаметр условного прохода - 32 мм
Давление нагнетания ном. - 10 МПа
Давление редуцированное, настраивается в диапазоне от 0,3 до 12,5 МПа
Расход рабочей жидкости ном. - 100 л/мин
Расход масла - 100/140/5 л/мин
Тип монтажа : резьбовой

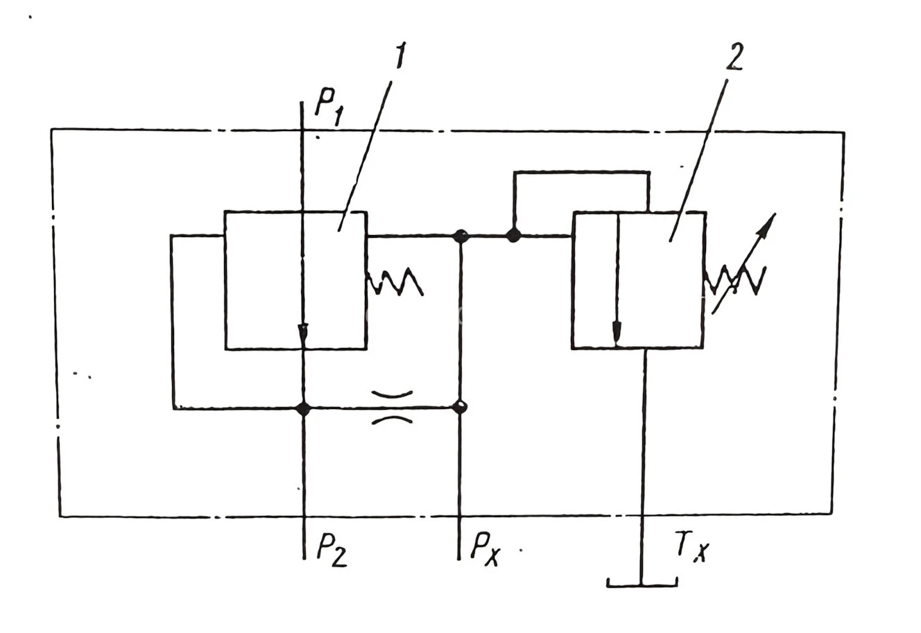
Гидроклапан М-КР 32-10-1 представляет собой редукционный клапан непрямого действия с дополнительным управляющим клапаном, который контролирует давление, максимальное значение которого достигает 32 МПа.
Гидроклапаны М-КР обеспечивают стабильное давление на выходе, позволяя поддерживать более низкое давление в отводимом потоке по сравнению с подводимым. Они применяются в гидросистемах и гидропередачах в качестве автоматического регулирующего устройства.
Эти устройства предназначены для поддержания заданного давления, которое ниже давления на входе в клапан, в гидросистемах гидроприводов станков и других стационарных машин, работающих в помещениях при температуре окружающей среды от 0 до 40 градусов Цельсия, с использованием минеральных масел с кинематической вязкостью от 10 до 400 сСт при температуре масла от 10 до 70 градусов Цельсия.
Рекомендуется использовать турбинное масло Т-22 по ГОСТ 9972-74, а также фильтры для гидросистем с номинальной тонкостью фильтрации 25 мкм и масла 14 класса по ГОСТ 17216-71.