Гидроклапан предохранительный МКПВ32/3С2Р3
✓ Сертифицированное оборудование
✓ Гарантия надежной эксплуатации
✓ Контроль качества на каждом этапе
✓ Современное оборудование
✓ Быстрая отгрузка
Основные параметры клапана:
Диаметр условного прохода - 32 мм
Давление нагнетания ном.- 32 МПа
Расход рабочей жидкости ном. - 450 л
Тип монтажа : стыковой

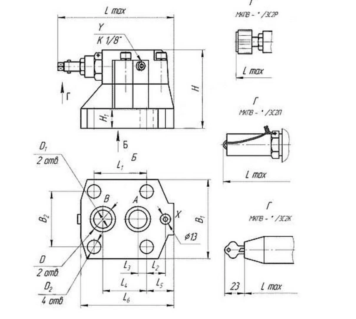
Полис наименование изделия - предохранительный гидроклапан встраиваемого типа МКПВ. Предохранительные клапаны предназначены для поддержания установленного давления, предотвращения его превышения и освобождения гидросистемы от давления. Эти клапаны применяются в гидроприводах прессов, станков, литейного оборудования и прочей техники. Они изготавливаются для использования в народном хозяйстве и на экспорт, включая страны с тропическим климатом. Присоединительные отверстия обозначены следующим образом: А - для подачи основного потока рабочей жидкости под давлением; В, Т - для отводов основного потока в сливную гидролинию; X, 21 - для подачи (отвода) потока управления для дисганионной разгрузки; Y - для отвода потока управления в сливную гидролинию. Габаритные и соединительные размеры клапанов указаны на рисунках 1-10. Эти устройства работают на чистых минеральных маслах с кинематической вязкостью от 20 до 200 мм/с и температурой от +10 до +70°С при окружающей температуре от +1 до +55°С. Рекомендуемые рабочие жидкости включают И-20А, И-30А и И-40А по ГОСТ 20799-75, ВНИИ НП-403 по ГОСТ 16728-78, ИГП-18, ИГП-30, ИГП-38.
Предохранительный клапан вставного монтажа типа МКПВ состоит из корпуса, управляющего и основного клапанов. Управляющий клапан включает стакан, в котором размещены пружина и регулировочный винт, перемещающийся по резьбе. Пружина одним концом упирается в седло, а другим - в регулировочный винт. Игла и седло образуют затвор управляющего клапана, а уплотнение происходит за счет посадки конической поверхности иглы на кромку седла. Часть винта, находящегося снаружи, имеет головку для гаечного ключа. Управляющий клапан ввернут в корпус и уплотнен резиновыми кольцами. Основной клапан состоит из переходной отводки, пилота, клапана и пружины, его уплотнение осуществляется резиновыми и защитными кольцами. Клапаны управления, выходящие на стыковую плоскость корпуса, также уплотнены резиновыми кольцами. При транспортировке основной клапан защищается колпаком.
Регулировочный винт может иметь исполнение с рукояткой. Также возможен вариант с колпачком для ключа, который может быть опломбирован, или с замковым устройством. Замковое устройство включает защитную обойму с замком и поворотной втулкой, связанной с замком. При повороте ключа происходит установка штифта в нужном положении, что позволяет зафиксировать устройство. Когда ключ поворачивается, штифт устанавливается в кольцевую канавку для замыкания.
Работа клапана осуществляется следующим образом: давление рабочего потока, подводимого к торцу основного клапана через демпферное отверстие, создает силу, стремящуюся сместить иглу. Эта сила противостоит усилию пружины, настроенной на определенное давление. Когда давление превышает предельное значение, игла смещается, позволяя потоку рабочей жидкости уйти в слив.