Гидроклапан DBDS 6 G 1A/315 Rexroth
✓ Сертифицированное оборудование
✓ Гарантия надежной эксплуатации
✓ Контроль качества на каждом этапе
✓ Современное оборудование
✓ Быстрая отгрузка
Основные параметры клапана:
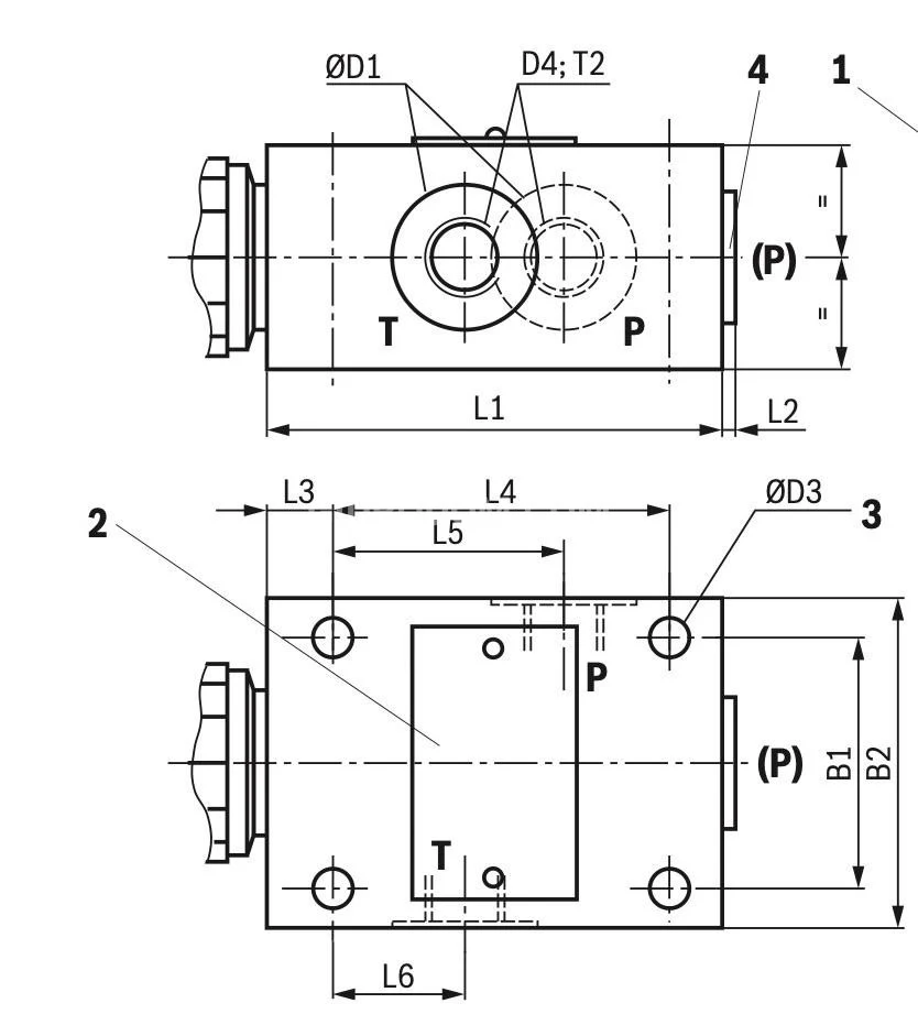
Диаметр условного прохода - 6 мм
Давление нагнетания ном. - 35 МПа
Расход рабочей жидкости ном. - 350 л
Присоединение : резьбовое

Предохранительные клапаны типа DBDS представляют собой седельные клапаны прямого действия, применяемые для ограничения давления в системе. Основные элементы клапанов включают гильзу, пружину, тарелку с демпфирующим поршнем (номинальное давление 25...400 бар) или шар (номинальное давление 630 бар) и регулятор. Давление в системе можно регулировать плавно с помощью регулятора. Пружина прижимает тарелку или шар к седлу.
Канал P соединён с системой, и давление в этом канале действует на поверхность тарелки или шара. При увеличении давления в канале P, превышающем заданное пружиной значение, тарелка или шар открывается, преодолевая силу пружины, и гидравлическая жидкость начинает вытекать в канал T. Ход тарелки ограничен выступом.
Для обеспечения оптимальной настройки давления, диапазон давлений разбивается на семь уровней, каждый из которых соответствует определённому значению пружины для максимального рабочего давления. Функциональные характеристики этих клапанов аналогичны стандартной серии. Однако клапаны типа DBDS..K являются сертифицированными предохранительными клапанами в соответствии с Директивой ЕС 2014/68/ЕС и предназначены для использования в качестве предохранительных устройств.
На заводе задаётся полное рабочее давление с помощью фиксации, после чего предохранительный клапан пломбируется или закрывается специальным колпачком, который нельзя снять без повреждений. Эти клапаны доступны с градуированными давлениями с шагом 5 бар. Версия с предохранительным колпачком уже не подлежит регулировке. В моделях с поворотной ручкой или маховиком пользователь может ослабить пружину, что позволяет установить давление срабатывания ниже заводского без необходимости разрушения пломбы.