фильтр напорный 2ФГМ32-40К
✓ Сертифицированное оборудование
✓ Гарантия надежной эксплуатации
✓ Контроль качества на каждом этапе
✓ Современное оборудование
✓ Быстрая отгрузка
Технические характеристики:
Условный проход, мм: 20
Номинальное давление, МПа: 32
Номинальный расход л/мин: 80
Масса , кг.: 8

Напорные (гидравлические) фильтры 1ФГМ32-*, 2ФГМ32-*, 3ФГМ32-*, 4ФГМ32-* с индикатором загрязнённости (замена устаревшего варианта фильтров ФГИ, Ф7) на номинальном давлении 32 МПа предназначены для очистки минеральных масел от механических примесей.
Фильтры ФГМ32 применяются на металлорежущих, деревообрабатывающих и прочих станках, а также в кузнечно-прессовом и литейном оборудовании. Кинематическая вязкость очищаемых минеральных масел не выше 200 мм²/с при температуре до 80 °C.
Напорные фильтры 1ФГМ32-*, 2ФГМ32-*, 3ФГМ32-*, 4ФГМ32-* изготовляются для номинального давления 32 МПа (ФГМ32 имеет четыре габарита). По степени тонкости фильтрации существуют варианты: 5, 10, 25 и 40 мкм.
В качестве фильтроэлементов в фильтрах 1ФГМ32-*, 2ФГМ32-*, 3ФГМ32-*, 4ФГМ32-* применяются фильтроэлементы ФД и РЕГОТМАС.
Фильтры ФГМ монтируют в напорных магистралях гидросистем в зоне, удобной для обслуживания, вертикально, чтобы направление стрелки на головке фильтра совпадало с направлением движения рабочей жидкости.
Для замены фильтрующего элемента после срабатывания индикатора загрязнённости выключают насосную установку и, после снижения давления до нуля, отвинчивают стакан, удаляют загрязнённый элемент, устанавливают чистый элемент в стакан и завинчивают обратно.
При пуске системы с холодным маслом, вязкость которого выше 30 мм²/с, индикатор загрязнённости может показывать ложные сигналы с возможным открытием предохранительного клапана; индикатор возвращается в исходное положение по мере нагрева масла. Если индикатор не возвращается, систему следует кратковременно выключить.
Условия хранения-2 (С) по ГОСТ 15150.
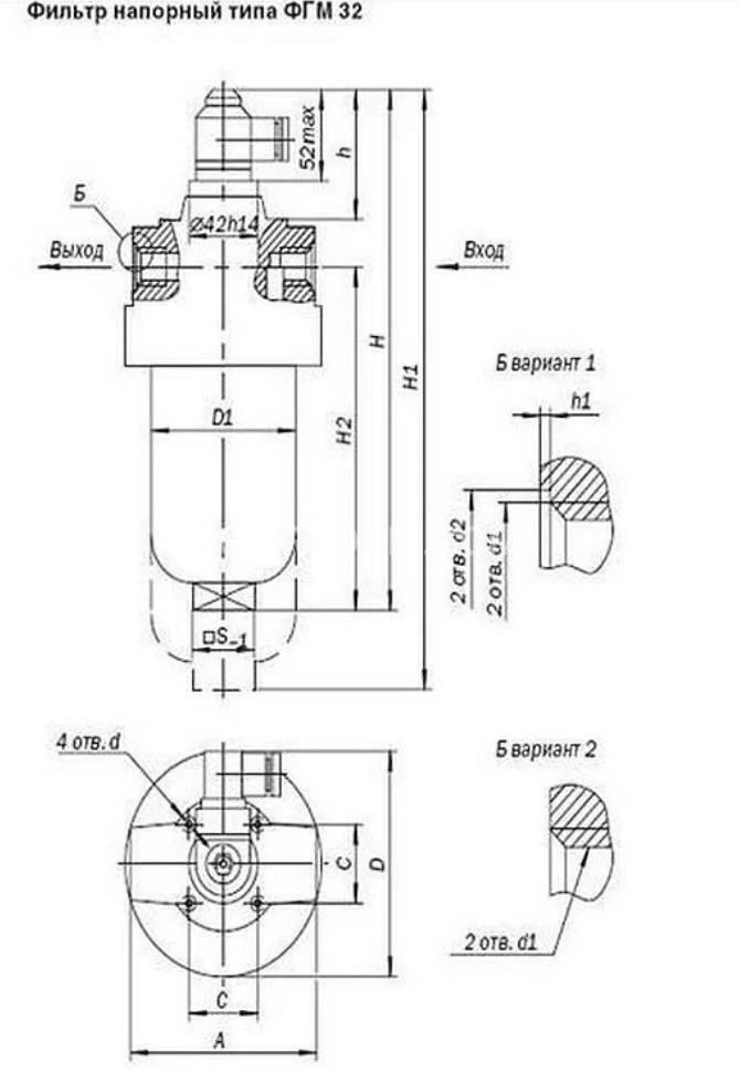
Напорный фильтр с индикатором загрязнённости типа ФГМ состоит из головки с входным и выходным отверстиями, стакана, герметично соединённого кольцом. Внутри стакана установлен фильтроэлемент, который сидит на седле. На головке расположён индикатор загрязнённости, в корпусе которого имеются устройства сигнализации о загрязнении фильтроэлемента и перепуске неочищенной жидкости.
Принцип работы фильтра. Рабочая жидкость через входное отверстие головки фильтра попадает в полость стакана, проходит через фильтроэлемент, очищается и выходит через седло и выходное отверстие в систему. При росте перепада давлений на фильтроэлемент по мере его загрязнения движется плунжер в поршне, сжимает пружину и выдвигает шток, на хвостовике которого закреплён постоянный магнит. При перепаде давлений (0,3 ± 0,03) МПа в поле магнитного воздействия срабатывает магнитоуправляемый контакт (геркон),контакт замыкается и формируется электрический сигнал о замене загрязнённого фильтроэлемента.
Из-за несвоевременной замены фильтроэлемента перепад давлений продолжает расти до (0,5 ± 0,1) МПа, открывается предохранительный клапан, и неочищенная рабочая жидкость поступает в систему, минуя фильтр. В таком случае фильтр функционирует в аварийном режиме.